高分子加工实验》课程
课程编号:432310
实验指导书
主撰人:罗飞
审核人:刘鑫
化学与材料科学系
二O一二年六月
目录
实验一、 |
聚丙烯挤出造粒实验…………………………………………… |
2 |
实验二、 |
注射工艺实验…………………………………………………… |
5 |
实验三、 |
PVC硬板压制成型……………………………………………… |
10 |
实验四、 |
聚合物拉伸强度和断裂伸长率的测定………………………… |
17 |
实验五、 |
聚合物冲击性能测试…………………………………………… |
21 |
实验六、 |
邵氏硬度测定…………………………………………………… |
30 |
实验七、 |
聚乙烯发泡成型………………………………………………… |
33 |
实验八 |
天然橡胶硫化模压成型………………………………………… |
39 |
实验九 |
配方综合设计…………………………………………………… |
44 |
| |
|
|
| |
|
|
| |
|
|
| |
|
|
| |
|
|
| |
|
|
1. 实验总体目标
研究加工工艺条件对塑料制品的影响。使学生通过实验理解、掌握高分子成型加工知识中的基本概念和基本原理,使学生熟悉高分子成型加工的实验方法和原理,初步掌握一些成型加工设备的操作技能和配方设计的基本方法,提高分析问题和解决实际问题的能力。
⒉适用专业年级
材料化学专业10级高分子方向
⒊实验课时分配
实验项目 |
实验 要求 |
实验 类型 |
每组 人数 |
实验 学时 |
实验一 聚丙烯挤出造粒实验 |
必做 |
综合 |
4~6 |
5 |
实验二 注射工艺实验 |
必做 |
综合 |
4~6 |
5 |
实验三 PVC硬板压制成型 |
必做 |
综合 |
4~6 |
5 |
实验四、聚合物拉伸强度和断裂伸长率的测定 |
必做 |
验证 |
4~6 |
5 |
实验五 聚合物冲击性能测试 |
必做 |
验证 |
4~6 |
5 |
实验六 邵氏硬度测定 |
必做 |
验证 |
4~6 |
5 |
实验七 聚乙烯发泡成型 |
必做 |
设计 |
4~6 |
5 |
实验八 天然橡胶硫化模压成型 |
必做 |
设计 |
4~6 |
5 |
实验九 配方综合设计 |
必做 |
研究 探索 |
4~6 |
5 |
4.实验总体要求
进一步加深理解高分子成型加工的科学原理,掌握高分子成型加工常用设备的操作方法和基本工艺条件,培养加工配方设计的能力、创新能力,学会独立分析问题和解决问题的方法,养成严谨的科学态度、思维方法和实际动手能力。
实验一 聚丙烯挤出造粒实验
一、实验目的
1.熟悉挤出成型的原理;
2.了解挤出机的基本结构及各部分的作用,掌握挤出成型基本操作。
二、实验原理
1.塑料造粒 合成出来的树脂大多呈粉末状,粒径小成型加工不方便,而且合成树脂中又经常需要加入各种助剂才能满足制品的要求,为此就要将树脂与助剂混合,制成颗粒,这步工序称作“造粒”。树脂中加入功能性助剂可以造功能性母粒。造出的颗粒是塑料成型加工的原料。
使用颗粒料成型加工的主要优点有:①颗粒比粉料加料方便,无需强制加料器;②颗粒料比粉料密度大,制品质量好;③挥发物及空气含量较少,制品不容易产生气泡;④使用功能性母料比直接添加功能性助剂更容易分散。
塑料造粒可以使用辊压法混炼,塑料出片后切粒,也可以使用挤出塑炼,塑化挤出条后切粒。本实验采用挤出冷却后造粒的工艺。
2.挤出成型原理及应用 热塑性塑料的挤出成型是主要的成型方法之一,塑料的挤出成型就是塑料在挤出机中,在一定的温度和一定的压力下熔融塑化,并连续通过有固定截面的模型,得到具有特定断面形状连续型材的加工方法。不论挤出造粒还是挤出制品都分两个阶段,第一阶段,固体状树脂原料在机筒中,借助于料筒外部的加热和螺杆转动的剪切挤压作用而熔融,同时熔体在压力的推动下被连续挤出口模;第二阶段是被挤出的型材失去塑性变为固体即制品,可为条状、片状、棒状、管状。因此,应用挤出的方法即可以造粒也能够生产型材或异型材。
三、实验仪器和材料
1.原材料
聚丙烯(PP),高密度聚乙烯(HDPE),助剂。
2.仪器设备
双螺杆挤出机 1台
XRZ-400型熔融流动速度仪 1台
剪刀 1把
手套 1付
切粒机 1台
冷却水槽 1个
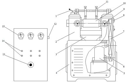
双螺杆挤出机的主要技术性能为φ34mm,螺杆长径比32,螺杆转速50Hz,加热温度<350 ℃。挤出机的主体结构及挤出造粒组合图,如图所示。

挤出造粒过程示意图
1-电动机;2-减速箱;3-冷却水;4-机座;5-料斗;6-加热器;7-鼓风机;8-机筒;9-真空表;10-压力传感器;11-机头和口模;12-热电偶;
13-条状挤出物;14-水槽;15-风环;16-切粒机控制面板;17-切粒机
挤出机各部分的作用如下:
1.传动装置 由电动机、减速机构和轴承等组成。具有保证挤出过程中螺杆转速恒定、制品质量的稳定以及保证能够变速作用。
2.加料装置 无论原料是粒状、粉状和片状,加料装置都采用加料斗。加料斗内应有切断料流、标定料量和卸除余料等装置;
3.料筒 料筒是挤出机的主要部件之一,塑料的混合、塑化和加压过程都在其中进行。挤出时料筒的压力很高,工作温度一般为180~250℃,因此料筒是受压和受热的容器,通常由高强度、坚韧耐磨和耐腐蚀的合金制成。料筒外部设有分区加热和冷却的装置,而且各自附有热电偶和自动仪表等;
4.螺杆 螺杆是挤出机的关键部件。根据螺杆的结构特性和工作原理分为如下几类:
①非啮合与啮合型双螺杆;
②啮合区与封闭型双螺杆;
③同向旋转和异向旋转双螺杆;
④平行和锥形双螺杆。
本实验采用的挤出机是啮合同向双螺杆挤出机,螺杆结构如图所示。通过螺杆的移动,料筒内的塑料才能发生移动,得到增压和部分热量(摩擦热)。螺杆的几何参数,诸如直径、长径比、各段长度比例以及螺槽深度等,对螺杆的工作特性均有重大影响。

啮合同向双螺杆
5.口模和机头 机头是口模与料件之间的过渡部分,其长度和形状随所用塑料的种类、制品的形状加热方法及挤出机的大小和类型而定。机头和口模结构的好坏,对制品的产量和质量影响很大,其尺寸根据流变学和实践经验确定。
四、实验步骤
1.了解挤出塑料的熔融指数和熔点,初步设定挤出机各段、机头和口模的控温范围,同时拟定螺杆转速、加料速度、熔体压力、真空度、牵引速度及切粒速度等;
2.检查挤出机各部分,确认设备正常,接通电源,加热,同时开启料座夹套水管。待各段预热到要求温度时,再次检查并趁热拧紧机头各部分螺栓等衔接处,保温10min以上;
3.启动油泵,再开动主机。在转动下先加少量塑料,注意进料和电流计情况。待有熔料挤出后,将挤出物用手(戴上手套)慢慢引上冷却牵引装置,同时开动切粒机切粒并收集产物;
4.挤出平稳,继续加料,调整各部分,控制温度等工艺条件,维持正常操作;
5.观察挤出料条形状和外观质量,记录挤出物均匀、光滑时的各段温度等工艺条件,记录一定时间内的挤出量,计算产率,重复加料,维持操作1h;
6.实验完毕,按下列顺序停机:
①将喂料机调至零位,按下喂料机停止按钮;
②关闭真空管路阀门;
③降低螺杆转速,尽量排除机筒内残留物料,将转速调至零位,按下主电机停止按钮;
④依次按下和电机冷却风机、油泵、真空泵、切粒机的停止按钮。断开加热器电源开关;
⑤关闭各进水阀门;
⑥对排气室、机头模面及整个机组表面清扫。
五、实验记录和数据处理
1.列出实验用挤出机的技术参数。
2.计算挤出产率。
六、思考题
1.影响挤出物均匀性的主要原因有哪些?怎样影响?如何控制?
2.造粒工艺有几种造粒方式?各有何特点?
实验二 注射工艺实验
一、.实验目的
1.掌握注射成型工艺及其成型原理;
2.熟悉注射机的操作及使用方法;
3.了解注射机的基本结构。
二、实验原理
注射成型是将热塑性或热固性塑料从注射机的料斗加入料筒,经加热熔化呈流动状态后,由螺杆或柱塞推挤而通过料筒前端喷嘴注入闭合的模具型腔中。充满模具的熔料在受压情况下,经冷却固化后即可保持模具型腔所赋予的形样,打开模具即得制品。并在操作上完成了一个模塑周期。这种方法具有成型周期短、生产效率高,制品精度好,成型适应性强,易实现生产自动化等特点,因此应用十分广泛。采用注射成型制备标准试样还可以研究塑料的力学、热学及电学性能,分析工艺与性能的关系,选择合理的成型条件,以求生产时获得最佳的经济效益。
注射成型是通过注射机来实现的,注射机的类型很多,不同注射机工作时完成的动作程序可能不完全相同,但成型的基本过程及过程原理是相同的。用螺杆式注射机制备热塑性塑料制品的基本程序是:
1.合模与琐紧
动模以低压快速进行闭合,与定模将要接触时,合模动力系统自动切换成低压低速,再切换成高压将模具琐紧。
2.注射装置前移和注射
确认模具琐紧后,注射装置前移,使喷咀与模具贴合。液压油进入注射油缸,推动与油缸活塞杆相连的螺杆,将螺杆头部均匀塑化的物料以规定的压力和速度注入模具型腔,直至熔料充满全部模腔,从而实现了充模程序。塑料注入模腔时,螺杆作用面的压力为注射压力(Pa);螺杆移动的速度为注射速度(cm/s)。熔料能否充满模腔,取决于注射时的速度、压力以及熔体温度、模具温度。熔体温度和模具温度通过熔体粘度、流动性质变化来影响充模程序的速率。在其他工艺条件稳定的情况下,熔体充填时的流动状态受注射速度制约。速度慢、充模的时间长,剪切作用使熔体分子取向程度增大。反之,则充模的时间短、熔料温度差较小、密度均匀,熔接强度较高,制品外观及尺寸稳定性良好。但是,注射速度过快时,熔体高速流经截面变化的复杂流道并伴随热交换行为,出现十分复杂的流变现象,制品可能发生不规则流动及过量充模的弊病。
注射压力使熔体克服料筒、喷咀、浇道、模腔等处的流动阻力,以一定的充模速率注入模腔,一经注满,模腔内的压力迅速达到最大值,而充模速率则迅速下降,熔料受到压实。在其它工艺条件不变时,熔体在模腔内充填过量或不足取决于注射压力高低,直接影响到分子取向程度和制品的外观质量。
3.保压
熔料注入模腔后,由于冷却作用,物料产生收缩出现空隙,为保证制品的致密性、尺寸精度和强度,须对模具保持一定的压力进行补缩、增密。这时螺杆作用面的压力为保压压力(Pa),保压时螺杆位置将会少量向前移动。保压压力可以等于或低于注射压力,其大小以能进行压实、补缩、增密作用为量度。保压时间以压力保持到浇口刚好封闭时为好。过早卸压会引起模腔内物料倒流,产生制品不足的毛病。而保压时间过长或保压压力过大,过量的充填会使浇口周围形成内应力。同时因为模腔内物料温度不断降低,取向分子冷却冻结,制品内应力增大,易产生开裂、脱模困难等现象。
4.制品冷却和预塑化
完成保压程序,卸去保压压力,物料在模腔内冷却定型所需要的时间为冷却时间,冷却时间的长短与塑料的结晶性能,状态转变温度、热导率、比热容、刚性以及制品厚度、模具冷却效率等有关。冷却时间应以塑料在开模顶出时具有足够的刚度,不致引起制品变形为宜。在保证制品质量的前提下,为获得良好的设备效率和劳动生产率,要尽量减少冷却时间及其他各程序的时间,以求缩短完成一次成型所需的全部操作时间——成型周期。除冷却时间外,模具温度也是冷却过程控制的一个主要因素。模温高低与塑料结晶性能、状态转变温度、热性能、制品形样及使用要求、其他工艺条件关系密切。
为缩短成型周期,提高生产效率,当浇口冷却,保压过程结束时,注射机螺杆在液压马达的驱动下开始转动,将来自料斗的塑料向前输送。在机筒外加热和螺杆剪切热的共同作用下,使塑料均匀融化,最终成为熔融黏流态的流体。在螺杆的输送作用下存积于螺杆头部的机筒中,从而实现塑料原料的塑化。螺杆的转动一方面使塑料塑化并向其头部输送,另一方面也使存积于头部的塑料熔体产生压力,这个压力称为塑化压力(Pa)。由于这个压力的作用,使得螺杆向后退移,螺杆后移的距离反映出螺杆头部机筒中所存积的塑料熔体体积,注射机螺杆的这个后退距离,即每次预塑化熔体体积,也就是注射熔体计量值是根据成型制件所需要的注射量进行调节设定。在螺杆转动而后退到设定的计量值时,在液压和电气控制系统的控制下就停止转动,完成塑料的预塑化和计量,即完成预塑化程序。注射螺杆的尾部是与注射油缸连接在一起的,在螺杆后退的过程中,螺杆要受到各种摩擦阻力及注射油缸内液压油回流的阻力的作用,注射油缸内液压油回流的阻力产生的压力称为螺杆背压。塑料原料在预塑过程中的各种工艺参数(各部分的压力、温度等)是根据不同制件的塑料材料进行设定的。
5.注射装置后退和开模顶出制品
注射装置后退的目的是为了防止喷嘴和模具长时间接触散热形成冷料,而影响下次注射。可将注射装置后退,让喷嘴脱开模具。此操作是否进行视成型工艺需要选用。
模腔内制品冷却定型后,合模装置即开启模具,顶出机构顶落制品,准备再次闭模,进入下次成型周期。
三、实验仪器和材料
1.原材料
聚丙烯(PP)。
2.仪器设备
注射机(UMMAX-80iⅢ型)。其主要性能参数如下:
注射量/g |
100 |
注射压力/MPa |
165 |
注射速率/(cm3/s) |
91 |
螺杆直径/mm |
34 |
螺杆行程/mm |
120 |
螺杆转速/r/min |
0~180 |
合模力/t |
60 |
模板行程/mm |
220 |
注射模具(力学性能试样模具) |
1付 |
注射机主体结构如图所示。

注射成型机
1-合模机构;2-顶出装置;3-操纵按钮;4-塑化机构;5-料斗;
6-加料计量装置;7-控制面板;8-油马达
四、实验步骤
1.准备工作
阅读注射机使用说明书,了解机器的工作原理、安全要求及使用程序。
①了解原料的型号、成型工艺特点及制品(试样)的质量要求,参考有关产品的工艺条件介绍,初步拟订实验条件,如原料的干燥条件;料筒温度和喷咀温度;螺杆转速,背压及加料量;注射速度、注射压力、保压压力和保压时间;模具温度和冷却时间;制品的后处理条件。
②按实验设备操作规程的要求,做好注射机的检查、维护工作,并作好开机准备。
③用手动/低压开、合模操作,安装好试样模具。
2.制备试样
①手动操作方式
a.在注射机显示屏温度值达到实验条件时,再恒温30min,加入塑料并进行预塑程序,用慢速进行对空注射。观察从喷嘴流出的料条。如料条光滑明亮,无变色、银丝、气泡,说明原料质量及预塑程序的条件基本适用,可以制备试样。
b.依次进行下列手动操作程序:闭模——预塑——注射座前移——注射(充模)——保压——预塑/冷却——注射座后退——冷却定型——开模——顶出——开安全门——取件——关安全门。读出并记录注射压力(表值)、螺杆前进的距离和时间、保压压力(表值)、背压(表值)及驱动螺杆的液压力(表值)等数值。记录料筒温度、喷嘴温度、注射—保压时间、冷却时间和成型周期。
从取得的缺料制品观察熔体某一瞬间在矩形、园形流道内的流速分布。通过制得试样的外观质量判断实验条件是否恰当,对不当的实验条件进行调整。
②半自动操作方式
在确定的实验条件下,连续稳定地制取5模以上作为第一组试样。然后依次变化下列工艺条件:如注射速度,注射压力,保压时间,冷却时间和料筒温度;
注意:实验时,每一次调节料筒温度后应有适当的恒温时间。
3.按GB1039-79标准,观察每组试样的外观质量,记录不同实验条件下试样外观质量变化的情况。
五、实验记录和数据处理
1.写出实验用原料的工艺特性;纪录注射机与模具的技术参数。
2.表列各组试样注射工艺条件,分析试样外观质量与成型工艺条件的关系,简述其原因。
3.取得的各组试样留作力学、热学性能测试。
六、思考题
1.在选择料筒温度、注射速度、保压压力、冷却时间的时候,应该考虑哪些问题?
2.从PP的化学结构、物理结构分析其成型工艺性能的特点?
实验三 PVC硬板压制成型
一、实验目的
1.掌握热塑性塑料聚氯乙烯塑料的配方设计的基本知识。熟悉硬聚氯乙烯加工成型各个环节及其与制品质量的关系。
2.了解高速混合机、双辊开放式炼塑机、平板压机等基本结构原理,学会这些设备的操作方法。
二、实验原理
PVC是应用很广泛的一种通用树脂之一,单纯的PVC树脂是较刚硬的原料,其熔体粘度大,流动性差,虽具有一般非晶态线型聚合物的热力学状态,但Tg~Tf范围窄,对热不稳定,在成型加工中会发生严重的降解,放出氯化氢气体、变色和粘附设备。因此在成型加工之前必须加入热稳定剂、加工改性剂、抗冲改性剂等多种助剂。压制硬PVC板材的生产包括下列工序:①混合按一定配方称量PVC及各种组分,按一定的加料顺序,将各组分加入到高速混合机中进行混合;②双辊塑炼拉片用双辊炼塑机将混合物料熔融混合塑化,得到组成均匀的成型用PVC片材;③压制把PVC片材放入压制模具中,将模具放入平板压机中,预热、加压使PVC熔融塑化,然后冷却定型成硬质PVC板材。
硬质PVC板材,可以制透明的或不透明的两种类型。配方设计中主体成分是树脂和稳定剂,另外加入适量的润滑剂和其他添加剂,不加或加入少量增塑剂。
混合是利用对物料加热和搅拌作用,使树脂粒子在吸收液体组分时,同时受到反复撕捏、剪切,形成能自由流动的粉状掺混物。塑炼是使物料在黏流温度以上和较大的剪切作用下来回折叠、辊压,使各组分分散更趋均匀,同时驱出可能含有水分等挥发气体。PVC混合物经塑炼后,可塑性得到很大改善,配方中各组分的独特性能和它们之间的“协同作用”将会得到更大发挥,这对下一步成型和制品的性能有着极其重要的影响。因此,塑炼过程中与料温和剪切作用有关的工艺参数、设备物性(如辊温、辊距、辊速、时间)以及操作的熟练程度都是影响塑炼效果的重要因素。
三、实验仪器和材料
1.原材料
(1)树脂及改性剂 为了配制透明的和不透明的两种类型板材,按PVC树脂的加工性和硬板的一般用途,选用分子量适当、颗粒度大小分布较窄的悬浮聚合松型树脂为宜。这类树脂含杂质少、流动性较好、有较为的热变形温度和耐化学稳定性,成本也较低廉。
由于硬质PVC塑料制品冲击强度低,在板配方中加入一定量的改性剂,如甲基丙烯酸甲酯-丁二烯-苯乙烯接枝共聚物(MBS)、丙烯腈-丁二烯-苯乙烯接枝共聚物(ABS)和氯化聚乙烯(CPE)等可弥补其不足。冲击改性剂的特点是:与PVC有较好的相容性,在PVC基质中分散均匀,形成似橡胶粒子相,如甲基丙烯酸甲酯-丁二烯-苯乙烯接枝共聚物(MBS)、丙烯腈-丁二烯-苯乙烯接枝共聚物(ABS)和丙烯酸酯类共聚物(ACR)或弹性网络(如CPE)。
具有两相结构材料的透明性取决于两相的折射率是否接近。如两相折射率不相匹配,光线会在两相的界面产生散射,所得制品不透明。当抗冲改性剂粒子足够小时,也能使PVC硬板显示优良的透明性和冲击韧性。当然,PVC配方中其他添加剂(如润滑剂、稳定剂、着色剂等)的类型与含量对折射率的匹配也有明显的影响,需全面考查调配,才能实现最佳透明效果。
(2)稳定剂 为了防止或延缓PVC树脂在成型加工和使用过程中受光、热、氧的作用而降解,配方中必须加入适当类型和用量的稳定剂。常用的有:铅盐化合物、有机锡化合物、金属盐及其复合物等类型和用量的稳定剂。各类稳定剂的稳定效果除本身特性外,还受其他组分、加工条件影响。
铅盐稳定剂成本低、光稳定作用与电性能良好,不存在被萃取,挥发或使硬板热变形温度下降等问题。但比重大、有毒、透明性差,与含硫物质或大气接触易受污染。仅适用于透明性、毒性和污染性不是主要要求的通用板材。
从热稳定作用、初期色相性和加工性能来看,硫醇有机锡是最有效的,它不仅能提供优良的透明性,同时还具有很好的相容性。在加工中不会出现金属表面沉析现象,不被硫化物污染。不过它的价格昂贵且有难闻的气味和耐候性较差的缺点,但与羧酸锡并用,可取长补短,是透明制品不可缺少的一类稳定剂。
单一的钡、钙金属盐(皂)稳定效果差,在长时间加热下会出现严重变色现象,一般都不单独使用。若将它们与另一种金属盐(如锌、镉等)适当配合,混合的金属盐则产生“协同效应”,表现出明显的增效作用。此外,在钙、锌混合金属盐中加入环氧大豆油,可作无毒稳定剂;钡、镉皂与环氧油并用,不仅能改善热稳定性,而且能显著地提高耐候性。
除此之外,在PVC硬板的配方中,为了降低熔体黏度,减少塑料对加工设备的粘附和硬质组分对设备的磨损,应适量加入润滑剂。选用润滑剂时,除考虑必要性的相容性外,还应有一定的热稳定性和化学惰性,在金属表面不残留分解物,能赋予制品以良好的外观,不影响制品的色泽和其他性能。
硬质PVC板材基本配方如下所示。
硬质PVC板材配方示例(质量份%)
品种 原料 |
普通板材 |
透明板材 |
聚氯化烯树脂(PVC)(SG-5,SG-4) |
100 |
100 |
邻苯二甲酸二辛酯(DOP) |
4~6 |
5~7 |
甲基丙烯酸甲酯-丁二烯-苯乙烯接枝共聚物(MBS) |
|
2~4 |
三碱式硫酸铅 |
5~6 |
|
硫醇有机锡 |
|
2~3 |
硬脂酸钡(BaSt) |
1.5 |
|
硬脂酸钙(CaSt) |
1.0 |
0.2 |
硬脂酸锌(ZnSt) |
|
0.1 |
环氧化大豆油(ESO) |
|
2~3 |
硬脂酸(HSt) |
|
0.3 |
碳酸钙(CaCO3) |
10 |
|
液体石蜡 |
0.5~1.0 |
|
色料 |
0.005~0.01 |
|
2.仪器设备
双辊开炼机 |
1台 |
250kN电热平板硫化机( 350mm 350mm) |
1台 |
高速混合机 |
1台 |
不锈钢模板 |
1付 |
浅搪瓷盘 |
1个 |
水银温度计(0~250℃) |
2支 |
表面温度计(0~250℃) |
1支 |
天平(感量0.1g) |
1台 |
制样机 |
1台 |
测厚仪或游标卡尺 |
1件 |
小铜刀、棕刷、手套、剪刀等实验用具 |
|
(1)双辊开炼机主体结构如图所示。

开放式炼胶机主体结构示意图
1-紧急制动开关;2-辊筒座;3-接料盘;4-支架;5-电机;6、7、8-齿轮;
9-辊间距调节轮;10-辊筒;11-加料间距调节板;12-控制箱开关;13-加热旋钮;14-辊筒和加热开关;15-电压表
(2)平板硫化机如图所示。

平板硫化机主体结构示意图
1-上机座;2-压力表;3-柱轴;4-下平板;5-操作杆;6-油泵;7-调压阀;8-工作液缸;9-开关;10-调温旋钮;11-升降平板;12-限位装置;13-活动平板
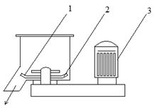
(3)高速混合机如图所示。

高速混合机示意图
1-刮刀;2-叶轮;3-电动机
四、实验步骤
1.粉料配制
①以PVC树脂100g为基准,按表4-1配方在天平上称量各添加剂质量,经研磨、磁选后依次放入配料瓷盘中。
②熟悉混合操作规程。先将PVC树脂稳定剂等干粉组分加入高速混合机中,盖上加料盖,并拧紧螺栓,开动搅拌1~2min,停止搅拌,打开加料盖,缓慢加入增塑剂等液体组分,此时物料混合温度不超60℃。然后加盖,继续搅拌3min左右,当物料混合温度自动升温至90~100℃时,即添加剂已均匀分散吸附在PVC颗粒表面,固体润滑也基本熔化时,换转速至低速,打开料闸门,将混合粉料放入浅搪瓷盘中待用,并将混合机中的残剩物料清除干净。
2.塑炼拉片
①按照双辊炼塑机操作规程,利用加热、控温装置将辊筒预热至(165±5℃),后辊约低5~10℃,恒温10mn后,开启开放式炼塑机,调节辊间距为2~3mm。
②在辊隙上部加上初混物料,操作开始后从两辊间隙掉下的物料立即再加往辊隙中,不要让物料在辊隙下方的搪瓷盘内停留时间过长,且注意经常保持一定的辊隙存料。待混合料已粘接成包辊的连续状带后,适当放宽辊隙以控制料温和料带的厚度。
③塑炼过程中,用切割装置或铜刀不断地将从辊筒上拉下来折叠辊压,或者把物料翻过来沿辊筒轴向不同的料团折叠交叉再送入辊隙中,使各组分充分地分散,塑化均匀。
④辊压6~8min后,再将辊距调至2~3mm进行薄通1~2次,若观察物料色泽已均匀,截面上不显毛粒、表面已光泽且有一定强度时,结束辊压过程。迅速将塑炼好的料带成整片剥下,平整放置,按压模板框尺寸剪裁成片坯。也可以在出片后放置平整,冷却后上切粒机切削成2×3×4mm左右的粒子,即为硬PVC塑料。
3.压制成型
①按照平板压机操作规程,检查压机各部分的运转、加热和冷却情况并调节到工作状况,利用压机的加热和控温装置将压机上、下模板加热至(180±5℃)。由压模板尺寸、PVC板材的模压压强(1.5~2.0MPa)和压力成型机的技术参数,按公式计算出油表压力P (表压)。
②把裁剪好的片坯重叠在不锈钢模板中间,放入压机平板中间。启动压机,使已加热的压机上、下模板与装有叠合板坯的模具相接触(此时模具处于未受压状态),预热板坯约10min。然后闭模加压至所需表压,当物料温度稳定到(180±5℃)时,可适当降低一点压力以免塑料过多地溢出。
③保温、保压约30min,冷却,待模具温度降至80℃以下直至板材充分固化后,方能解除压力,取出模具脱模修边得到PVC板材制品。
④改变配方或改变配制成型工艺条件,重复上述操作过程进行下一轮实验,可制得不同性能的PVC板材。
4.机械加工制备试样 将已制备得的透明或不透明PVC板材,在制样机上切取试样,试样数量纵、横各不少于4个,以原厚为试样厚度,按将进行的性能测试标准制成试样。
五、实验记录和数据处理
1.实验结果表示 平板压机表压P

式中:P——压机油压机表读数,MPa;
P0——模压压强,MPa;
A——模具投影面积,cm2;
Pmax——压机公称吨位,t。
2.配制、成型工艺参数和板材外观记录于表中。
配制、成型工艺参数和板材外观记录
配方 编号 |
粉料混合 |
辊压 |
压制 |
温度 /℃ |
时间 /min |
温度 /℃ |
时间 /min |
模板温度 上/℃,下/℃ |
表压 /MPa |
时间 /min |
模板压强 /MPa |
1 |
|
|
|
|
|
|
|
|
2 |
|
|
|
|
|
|
|
|
3 |
|
|
|
|
|
|
|
|
4 |
|
|
|
|
|
|
|
|
5 |
|
|
|
|
|
|
|
|
六、思考题
1.PVC配方中各组分的作用。透明和不透明配方的区别是什么?
2.试考虑除本实验所选工艺路线外,PVC板材的制造还可采用哪些工艺路线?比较其优缺点?
实验四、聚合物拉伸强度和断裂伸长率的测定
一、实验目的
1.通过实验了解聚合物材料拉伸强度及断裂伸长率的意义,熟悉它们的测试方法;
2.通过测试应力—应变曲线来判断不同聚合物材料的力学性能。
二、实验原理
为了评价聚合物材料的力学性能,通常用等速施力下所获得的应力—应变曲线来进行描述。这里,所谓应力是指拉伸力引起的在试样内部单位截面上产生的内力;而应变是指试样在外力作用下发生形变时,相对其原尺寸的相对形变量。不同种类聚合物有不同的应力—应变曲线。
等速条件下,无定形聚合物典型的应力应变曲线如图所示。图中的αy点为弹性极限,σα为弹性(比例)极限强度,εt为弹性极限伸长。在α点前,应力—应变服从虎克定律:σ=Eε。曲线的斜率E称为弹性(杨氏)模量,它反映材料的硬性。y称屈服点,对应的σy′和Ey′称屈服强度和屈服伸长。材料屈服后,可在t点处,也可在t′点处断裂。因而视情况,材料断裂强度可大于或小于屈服强度。εt(或εt′)称断裂伸长率,反映材料的延伸性。
从曲线的形状以及σt和εt的大小。可以看出材料的性能,并借以判断它的应用范围。如从σt的大小,可以判断材料的强与弱;而从εt的大小,更正确地讲是从曲线下的面积大小,可判断材料的脆性与韧性。从微观结构看,在外力的作用下,聚合物产生大分子链的运动,包括分子内的键长、键角变化,分子链段的运动,以及分子间的相对位移。沿力方向的整体运动(伸长)是通过上述各种运动来达到的。由键长、键角产生的形变较小(普弹形变),而链段运动和分子间的相对位移(塑性流动)产生的形变较大。材料在拉伸到破坏时,链段运动或分子位移基本上仍不能发生,或只是很小,此时材料就脆。若达到一定负荷,可以克服链段运动及分子位移所需要的能量,这些运动就能发生,形变就大,材料就韧。如果要使材料产生链段运动及分子位移所需要的负荷较大,材料就较强及硬。

无定形聚合物的应力—应变曲线 结晶型聚合物的应力—应变曲线
结晶型聚合物的应力—应变曲线与无定形聚合物的曲线是有差异的,它的典型曲线如图所示。微晶在c点以后将出现取向或熔解,然后沿力场方向进行重排或重结晶,故σc称重结晶强度,它同时也是材料“屈服”的反映。从宏观上看,材料在c点将出现细颈,随着拉伸的进行,细颈不断发展,至d点细颈发展完全,然后应力继续增大至t点时,材料就断裂。对于结晶型聚合物,当结晶度非常高时(尤其当晶相为大的球晶时),会出现聚合物脆性断裂的特征。总之,当聚合物的结晶度增加时,模量将增加,屈服强度和断裂强度也增加,但屈服形变和断裂形变却减小。聚合物晶相的形态和尺寸对材料的性能影响也很大。同样的结晶度,如果晶相是由很大的球晶组成,则材料表现出低强度、高脆性倾向。如果晶相是由很多的微晶组成,则材料的性能有相反的特征。
另外,聚合物分子链间的化学交联对材料的力学性能也有很大的影响,这是因为有化学交联时,聚合物分子链之间不可能发生滑移,黏流态消失。当交联密度增加时,对于Tg以上的橡胶态聚合物来说,其抗张强度增加,模量增加,断裂伸长率下降。交联度很高时,聚合物成为三维网状链的刚硬结构。因此,只有在适当的交联度时抗张强度才有最大值。综上所述,材料的组成、化学结构及聚态结构都会对应力与应变产生影响。归纳各种不同类聚合物的应力—应变线,主要有以下5种类型,如图所示。应力—应变实验所得的数据也与温度、湿度、拉伸速度有关,因此,应规定一定的测试条件。

5种类型聚合物的应力-应变曲线
(a)软而弱,(b)硬而脆(c)硬而强,(d)软而韧,(e)硬而韧
三、实验仪器
采用万能式电子拉力机。最大测量负荷10KN,速度0.01~500mm/min,试验类型有拉伸、压缩、弯曲等。
四、实验步骤
拉伸实验中所用的试样依据不同材料可按国家标准GB 1040—70加工成不同形状和尺寸。每组试样应不少于5个。试验前,需对试样的外观进行检查,试样应表面平整,无气泡、裂纹、分层和机械损伤等缺陷。另外,为了减小环境对试样性能的影响,应在测试前将试样在测试环境中放置一定时间,使试样与测试环境达到平衡。一般试样越厚,放置时间应越长,具体按国家标准规定。
取合格的试样进行编号,在试样中部量出10cm为有效段,做好记号。在有效段均匀取3点,测量试样的宽度和厚度,取算术平均值。对于压制、压注、层压板及其他板材测量精确到0.05mm;软片测量精确到0.01mm;薄膜测量精确到0.001mm。
1.接通试验机电源,预热15min。
2.打开电脑,进入应用程序。
3.选择试验方式(拉伸方式),将相应的参数按对话框要求输入,注意拉伸速度,(拉伸速度应为使试样能在0.5—5min试验时间内断裂的最低速度。本实验试样为PET薄膜,可采用100mm/mm的速度)。
4.按上、下键将上下夹具的距离调整到l0cm,并调整自动定位螺丝。
将距离固定。记录试样的初始标线间的有效距离。
5.将样品在上下夹具上夹牢。夹试样时,应使试样的中心线与上下夹具中心线一致。
6.在电脑的本程序界面上将载荷和位移同时清零后,按开始按钮,此时电脑自动画出载荷-变形曲线。
7.试样断裂时,拉伸自动停止。记录试样断裂时标线间的有效距离
8.重复3~7操作。测量下一个试样。
9.测量实验结束,由“文件”菜单下点击“输出报告”,在出现的对话框中选择“输出到EXCEL”。然后保存该报告。
五、实验记录和数据处理
1.断裂强度σt的计算:σt=[P/(bd)]×104(Pa)
式中P—最大载荷(由打印报告读出),N;
b—试样宽度,cm
d—试样厚度,cm
2.断裂伸长率εt计算:εt=[(L-L0)/L0]×100%
式中L0—试样的初始标线间的有效距离。
L一试样断裂时标线间的有效距离。
把测定所得各值列入下表,计算,算出平均值,并和电脑计算的结果进行比较。
编号 |
d/cm |
b/cm |
bd/cm2 |
P/N |
L0/cm |
L/cm |
σt/Pa |
εt |
1 |
|
|
|
|
|
|
|
|
2 |
|
|
|
|
|
|
|
|
3 |
|
|
|
|
|
|
|
|
4 |
|
|
|
|
|
|
|
|
5 |
|
|
|
|
|
|
|
|
平均σt= 打印报告中平均σt′= 二者偏差率=︱σt-σt′︳×100%=
平均εt= 打印报告中平均εt′= 二者偏差率=︱εt-εt′︳×100%=
注意事项:
①为了仪器的安全,测试前应根据自己试样的长短,设置动横梁上下移动的极限;
②夹具安装应注意上下垂直在同一平面上,防止实验过程中试样性能受到额外剪切力的影响;
③对于拉伸伸长很小的试样,可安装微形变测量仪测量伸长。
六、思考题
1.如何根据聚合物材料的应力—应变曲线来判断材料的性能?
2.在拉伸实验中,如何测定模量?
实验五 聚合物冲击性能测试
(一)简支梁冲击试验(Charpy方法)
一、实验目的
1.掌握高分子材料冲击性能测试的简支梁冲击试验方法、操作及其实验结果处理;
2.了解测试条件对测定结果的影响。
二、实验原理
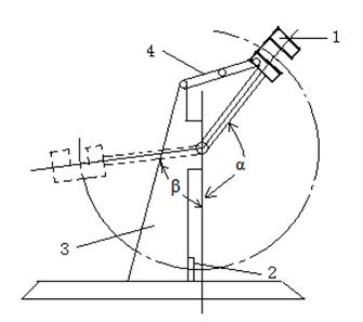
把摆锤从垂直位置挂于机架的扬臂上以后,此时扬角为α,它便获得了一定的位能,如任其自由落下,则此位能转化为动能,将试样冲断,冲断以后,摆锤以剩余能量升到某一高度,升角为β。
根据摆锤冲断试样后升角β的大小,即可绘制出读数盘,由读数盘可以直接读出冲断试样时所消耗的功的数值。将此功除以试样的横截面积,即为材料的冲击强度。

摆锤式冲击实验机工作原理
1-摆锤;2-试样;3-机架;4-扬臂
三、实验仪器和材料
1.试样
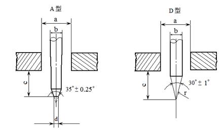
(1)注塑标准试样 试样表面应平整、无气泡、无裂纹、无分层和无明显杂质,缺口试样在缺口处应无毛刺。试样类型和尺寸以及相对应的支撑线间距如表所示;试样缺口的类型和尺寸如图所示。优选试样类型为1型,优选项缺口类型为A型。
试样类型、尺寸及对应的支撑线间距(mm)
试样类型 |
长度L 基本尺寸极限偏差
|
宽度b 基本尺寸极限偏差
|
厚度d 基本尺寸极限偏差
|
支撑线间距L |
1 |
80 |
±2 |
10 |
±0.5 |
4 |
±0.2 |
60 |
2 |
50 |
±1 |
6 |
±0.2 |
4 |
±0.2 |
40 |
3 |
120 |
±2 |
15 |
±0.5 |
10 |
±0.5 |
70 |
4 |
125 |
±2 |
13 |
±0.5 |
13 |
±0.5 |
95 |
缺口类型和制品尺寸(mm)
试样类型 |
缺口类型 |
缺口剩余厚度dk |
缺口底部圆弧半径r 基本尺寸极限偏差 |
缺口宽度n 基本尺寸极限偏差 |
1, 2, 3, 4 |
A |
0.8d |
0.25 |
±0.05 |
/ |
/ |
B |
0.8d |
1.0 |
±0.05 |
/ |
/ |
1, 3 |
C |
d
|
≤0.1 |
/ |
2 |
±0.2 |
2 |
C |
≤0.1 |
/ |
0.8 |
±0.1 |

A型缺口试样

B型缺口试样

C型缺口试样
缺口试样类型及尺寸
(2)板材试样。板材试样厚度在3~13mm之间时取原厚度。大于13mm时应从两面均匀地进行机械加工到10±0.5mm。4型试样的厚度必须加工到13mm。
当使用非标准厚度试样时,缺口深度与试样厚度尺寸之比也应满足表3-12的要求,厚度小于3mm的试样不做冲击实验。
如果受试材料的产品标准有规定,可用带模塑缺口的试样,模塑缺口试样和机械加工缺口的试样实验结果不能相比。除受试材料的产品标准另有规定外,每组试样数应不少于10个。各向异性材料应从垂直和平行于主轴的方向各切取一组试样。
2.仪器设备
摆锤式简支梁冲击机。
四、实验步骤
1.对于无缺口试样,分别测定试样中部边缘和试样端部中心位置的宽度和厚度,并取其平均值为试样的宽度和厚度,准确至0.02mm。缺口试样应测量缺口处的剩余厚度,测量时应在缺口两端各测一次,取其算术平均值;
2.根据试样破坏时所需的能量选择摆锤,使消耗的能量在摆锤总能量的10% ~ 85%范围内;
3.调节能量刻度盘指针零点,使它在摆锤处于起始位置时与主动针接触。进行空白实验,保证总摩擦损失在规定的范围内;
4.抬起并锁住摆锤,把试样按规定放置在两支撑块上,试样支撑面紧贴在支撑块上,使冲击刀刃对准试样中心,缺口试样使刀刃对准缺口背向的中心位置。冲击刀刃及支座尺寸如图所示;
5.平稳释放摆锤,从刻度盘上读取试样破坏时所吸收的冲击能量值。试样无破坏的,吸收的能量应不作取值,实验记录为不破坏或NB;试样完全破坏或部分破坏的可以取值;
6.如果同种材料在实验中观察到一种以上的破坏类型时,须在报告中标明每种破坏类型的平均冲击值和试样破坏的百分数。不同破坏类型的结果不能进行比较。

标准试样的冲击刀刃和支座尺寸
五、实验记录和数据处理
1.无缺口试样简支梁冲击强度a (kJ/m2)

式中 A——试样吸收的冲击能量值,J;
b——试样宽度,mm;
d——试样厚度,mm。
2.缺口试样简支梁冲击强度ak(kJ/m2)

式中 Ak——试样吸收的冲击能量值,J;
b——试样宽度,mm;
dk——缺口试样缺口处剩余厚度,mm。
3.标准偏差s

式中 x——单个试样测定值;
——一组测定值的算术平均值;
N——测定值个数。
六、思考题
1.如果试样上的缺口是机械加工而成,加工缺口过程中,哪些因素会影响测定结果?
(二)悬臂梁冲击实验(Izod方法)
一、实验目的
1.掌握高分子材料冲击性能测试的悬臂梁冲击试验方法、操作及其实验结果处理;
2.了解测试条件对测定结果的影响。
二、实验原理
把摆锤从垂直位置挂于机架的扬臂上以后,它便获得了一定的位能,如任其自由落下,则此位能转化为动能,将试样冲断,冲断以后,摆锤以剩余能量升到某一高度。根据摆锤冲断试样后升到的高度,即可绘制出读数盘,由读数盘可以直接读出冲断试样时所消耗的功的数值。将此功除以试样的横截面积,即为材料的冲击强度。
三、实验仪器和材料
1.试样
(1)模塑和挤塑料 最佳试样为1型试样,长80mm,宽10.00mm;最佳缺口为A型,如图所示。如果要获得材料对缺口敏感的信息,应实验A型和B型缺口。
除受试材料标准另有规定,一组应测试10个试样,当变异系数小于5%时,测试5个试样。
方法名称、试样类型、制品类型及尺寸
方法名称 |
试样类型 |
缺口类型 |
缺口底部半径rN/mm |
缺口底部的剩余宽度bN/mm |
GB 1843/1U |
1 |
无缺口 |
/ |
|
GB 1843/1A |
1 |
A |
0.25±0.05 |
8.0±0.2 |
GB 1843/1B |
1 |
B |
1.0±0.05 |
8.0±0.2 |


A型缺口 B型缺口
缺口半径示意图
(2)试样制备 试样制备应按照GB 5471、GB 9352或材料有关规范进行制备,1型试样可按GB 11997方法制备的A型试样的中部切取;板材用机械加工制备试样时应尽可能采用A型缺口的1型试样,无缺口试样的机加工面不应朝冲锤;各向异性的板材需从纵横两个方向各取一组试样进行实验。
2.仪器
摆锤式悬臂梁冲击机应具有刚性结构,能测量破坏试样所吸收的冲击能量值W,其值为摆锤初始能量与摆锤在破坏试样之后剩余能量的差,应对该值进行摩擦和风阻校正。
悬臂梁摆锤冲击实验机的特性
能量E /J |
冲击速度VS/(m/s) |
无试样时的最大摩擦损失/J |
有试样经校正后的允许误差/J |
1.0 |
3.5 (±10%) |
0.02 |
0.01 |
2.75 |
0.03 |
0.01 |
5.5 |
0.03 |
0.02 |
11.0 |
0.05 |
0.02 |
22.0 |
0.10 |
0.10 |
四、实验步骤
1.除有关方面同意采用别的条件如在高温或低温实验外,都应在与状态调节相同的环境中进行实验;
2.测量每个试样中部的厚度和宽度或缺口试样的剩余宽度bN,精确到0.02mm;
3.检查实验机是否有规定的冲击速度和正确的能量范围,破断试样吸收的能量在摆锤容量的10% ~ 80%范围内,若表中所列的摆锤中有几个都能满足这些要求时,应选择其中能量最大的摆锤;
4.进行空白实验,记录所测得的摩擦损失,该能量损失不能超过表所规定的值;
5.抬起并锁住摆锤,正置试样冲击。测定缺口试样时,缺口应放在摆锤冲击刃的一边。释放摆锤,记录试样所吸收的冲击能,并对其摩擦损失等进行修正。试样冲击处、虎钳支座、试样及冲击刃位置如图所示;
6.试样可能出现四种破坏类型,即完全破坏(试样断开成两段或多段)、铰链破坏(断裂的试样由没有刚性的很薄表皮连在一起的一种不完全破坏)、部分破坏(除铰链破坏外的不完全破坏)和不破坏。测得的完全破坏和铰链破坏的值用以计算平均值。在部分破坏时,如果要求部分破坏值,则以字母P表示。完全不破坏时用NB表示,不报告数值;
7.在同一样品中,如果有部分破坏和完全破坏或铰链破坏时,应报告每种破坏类型的自述平均值。

无缺口试样冲击处、虎钳支座、试样及冲击刃位置图
五、数据处理
1.无缺口试样悬臂梁冲击强度aiu(kJ/m2)

式中 W——破坏试样吸收并修正后的能量值,J;
b——试样宽度,mm;
h——试样厚度,mm。
2.缺口试样悬臂梁冲击强度aiN(kJ/m2)

式中 W——破坏试样吸收并修正后的能量值,J;
h——试样厚度,mm;
bN——缺口试样缺口底部的剩余宽度,mm。
计算一组实验结果的算术平均值,取两位有效数字,在同一样品中存在不同的破坏类型时,应注明各种破坏类型试样的数目和算术平均值。
3.标准偏差s

式中 xi——单个试样测定值;
——一组测定值的算术平均值;
N——测定值个数。
六、思考题
1.如何从配方及工艺上提高高聚物材料的冲击强度?
实验六 邵氏硬度测定
邵氏硬度计是将规定形状的压针在标准的弹簧力下压入试样,把压针压入试样的深度转换为硬度值。邵氏硬度分为邵氏A和邵氏D两种,邵氏A硬度适用于橡胶及软质塑料,用HA表示,邵氏D硬度适用于较硬的塑料,用HD表示。
一、实验目的
1.测定硬塑料和软塑料的硬度;
2.掌握邵氏硬度测量的基本原理及测量方法。
二、实验原理
本实验采用邵氏压痕硬度计,将规定形状的压针,在标准的弹簧压力下和规定的时间内,把压针压入试样的深度转换为硬度值,表示该试样材料的邵氏硬度值。邵氏压痕硬度计不适应于泡沫塑料。
三、实验仪器和材料
1.试样
聚丙烯(PP),天然橡胶(NR)。
试样应厚度均匀,用A型硬度计测定硬度,试样厚度应不小于5mm。用D型硬度计测定硬度,试样厚度应不小于3mm。除非产品标准另有规定。当试样厚度太薄时,可以采用两层、最多不超过三层试样叠合成所需的厚度,并保证各层之间接触良好。
试样表面应光滑、平整、无气泡、无机械损伤及杂质等。
试样大小应保证每个测量点与试样边缘距离不小于12mm,各测量点之间的距离不小于6mm。可以加工成50mm×50mm的正方形或其他形状的试样。
每组试样的测量点不少于5个,可在一个或几个试样上进行。
2.仪器设备
A型和D型邵氏硬度计。硬度计主要由读数度盘、压针、下压板及压针施加压力的弹簧组成。压针的尺寸及其精度如图所示。

邵氏A型和D型硬度计压针
a-
;b-
;c―
;
d―
;r―
1.读数度盘 度盘为100分度,每一分度相当于一个邵氏硬度值。当压针端部与下压板处于同一平面时,即压针无伸出,硬度计度盘指示为100,当压针端部距离下压板2.50 ±0.04mm时,即压针完全伸出,硬度计度盘应指示为0。
2.压力弹簧 压力弹簧对压针所施加的力应与压针伸出压板位移量有恒定的线性关系。其大小与硬度计所指刻度的关系如下式所示:
A型硬度计:

或 
D型硬度计:

或 
式中 FA、FD分别为弹簧施加于A型和D型硬度计压针上的力(mN)或gf;
HA、HD分别为A型硬度计和D型硬度计的读数。
3.下压板 为硬度计与试样接触的平面,它应有直径不小于12mm的表面,在进行硬度测量时,该平面对试样施加规定的压力,并与试样均匀接触。
4.测定架 应备有固定硬度计的支架、试样平台(其表面应平整、光滑)和加载重锤。实验时硬度计垂直安装在支架上,并沿压针轴线方向加上规定质量的重锤,使硬度计下压板对试样有规定的压力。对于邵氏A为1kg,邵氏D为5kg。
硬度计的测定范围为20~90之间,当试样用A型硬度计测量硬度值大于90时,改用邵氏D型硬度计测量,用D型硬度计测量硬度值低于20时,改用A型硬度计测量。
硬度计的校准:在使用过程中压针的形状和弹簧的性能都会发生变化,因此对硬度计的弹簧压力、压针伸出最大值及压针形状和尺寸应定期检查校准。推荐使用邵氏硬度计检定仪校准弹簧力。压针弹簧力的检定误差,A型硬度计要求偏差在±0.4g之内,D型硬度计偏差在±2.0g以内。若无邵氏硬度计检定仪,也可用天平秤来校准,只是被测得的力应等于硬度与所指刻度关系式所计算的力(A型偏差±8g,D型偏差±45g)。
四、实验步骤
1.按GB 1039-79《塑料力学性能实验方法总则》中第2、3、4条规定调节实验环境并检查和处理试样。对于硬度与温度无关的材料,实验前应在实验环境中至少放置1h;
2.将硬度计垂直安装在硬度计支架上,用厚度均匀的玻璃平放在试样台上,在相应的重锤作用下使硬度计下压板与玻璃完全接触,此时读数盘指针应指示100,当指针完全离开玻璃片时,指针应指示0。允许最大偏差为±1个邵氏硬度值;
3.将待测试样置于测定架的试样平台上,使压针头离试样边缘至少12mm,平稳而无冲击地使硬度计在规定重锤的作用下压在试样上,从下压板与试样完全接触15s后立即读数。如果规定要瞬时读数,则在下压板与试样完全接触后1s内读数;
4.在试样上相隔6mm以上的不同点处测量硬度至少5次,取其平均值。
注意:如果实验结果表明,不用硬度计支架和重锤也能得到重复性较好的结果,也可以用手压紧硬度计直接在试样上测量硬度。
五、实验记录和数据处理
1.硬度值
从读数度盘上读取的分度值即为所测定的邵氏硬度值。用符号HA或HD来表示邵氏A或邵氏D的硬度。如:用邵氏A硬度计测得硬度值为50,则表示为HA50。实验结果以一组试样的算术平均值表示。
2.标准偏差(s)

式中 X——单个测定值;
——组试样的算术平均值;
N——测定个数。
六、思考题
1.硬度实验中为何对操作时间要求严格?
实验七 聚乙烯发泡成型
一、实验目的
1.掌握生产聚烯烃泡沫塑料的基本原理,了解聚烯烃泡沫塑料主要生产法;
2.掌握生产聚乙烯泡沫塑料的基本配方,了解配方中各种组分的作用;
3.掌握实验室制备聚乙烯泡沫塑料的操作过程。
二、实验原理
泡沫塑料是以树脂为基础、内部具有无数微孔性气体的塑料制品。塑料产生微孔结构的过程称为发泡,发泡前原材料密度与发泡后泡沫塑料密度的比值叫做发泡倍数。泡沫塑料具有比强度高、绝热、隔音、缓冲等特性;树脂结构、发泡体的发泡倍数、气泡结构(气泡的连续性、直径、形状、泡壁厚度、泡内气体成分)等是影响泡沫塑料特性的因素。泡沫塑料的这类特性在土木建筑、绝热工程、车辆材料、包装防护、体育及生活器材方面有着良好的应用前景。通过制备泡沫材料的实验技术,了解泡沫材料的成型工艺原理,分析影响泡沫材料性能的工艺因素。
本实验是以低密度聚乙烯(LDPE)为主要原料,用化学交联,化学发泡,并用一步法模压制备泡沫材料。
1.化学交联
由于LDPE树脂熔融后的黏度急剧下降和出现高弹态的范围不宽(图4-9所示),因此发泡时发泡剂分解出来的气体不易保持在树脂中,致使发泡工艺难以控制。聚乙烯的结晶度较大,结晶又快;从熔融态转至晶态时要放出大量的结晶热;熔融聚乙烯的比热较大;从熔融态冷却到固态时间较长;再者LDPE的气体透过率高等,这些都会促使发泡气体逃逸机会增大。克服这种缺点的最有效方法是使聚乙烯分子交联成为网状结构以提高树脂的熔融黏度和使黏度随温度的升高而缓慢降低,从而调整熔融物的粘弹性以适应发泡要求。其情况如图。

LDPE温度与熔体粘度的关系
1-最宜发泡的熔体温度;2-交联LDPE;3-无交联LDPE;4-熔点
LDPE交联有化学交联及辐射交联两类技术,化学交联通常采用有机过氧化物作交联剂。以过氧化二异丙苯(DCP)作交联剂为例,在不同温度下的半衰期如表,表中温度和半衰期的时间可以作为拟定发泡工艺条件的参考数值,LDPE的交联过程是:
①加热条件下,DCP分解为游离基,再分解为新游离基。

②游离基夺取LDPE大分子链(多数是支链位置叔碳原子)的氢,生成大分子游离基。

R为H-;C2H5-或C4H9-。
③大分子游离基相互结合而产生C-C交联键,得到交联聚乙烯。
DCP在不同温度下的半衰期
温度/℃ |
101 |
115 |
130 |
145 |
171 |
175 |
半衰期/min |
6000 |
744 |
108 |
18 |
1 |
0.75 |
2.化学发泡
化学发泡剂分为有机的和无机的两类,属于有机发泡剂的偶氮二甲酰胺(ADCA)是LDPE最常用的发泡剂,加热时主分解反应是:

ADCA分解是一个复杂的反应过程,气体物质除N2(占65%)、CO(占32%)外尚有少量的CO2(约占2 %)、NH3等。此外,固体物质有脲、联二脲、脲唑、三聚氰酸等,这些固体物易在成型模具处结垢,连续发泡过程时应设法除去。
ADCA分解的发气量220ml/g(标准状态)、分解放热168KJ/mol,在塑料中的分解温度为165~200℃。在此分解温度下,交联的LDPE熔体粘度会明显降低,粘弹性变差,给发泡工艺过程造成新的困难。因此要在原料配硬脂酸锌(ZnSt、兼作润油剂)用量与发泡剂ADCA分解温度的关系见图,由图选择促进剂用量以控制发泡温方中加入某些助剂降低发泡剂分解温度,加快发泡剂分解速度,这类助剂称为发泡促进剂。ADCA的发泡促进剂有铅、锌、镉、钙的化合物,有机酸盐以及脲等。本实验所用的发泡促进剂氧化锌(ZnO)。

ZnO与ADCA分解温度的关系 ZnSt与ADCA分解温度的关系
3.一步法模压成型
实验时,先按配方配齐原料,而后在开炼机上进行混炼,混炼温度应在树脂熔点之上,但须注意保持在交联剂和发泡剂分解温度以下,以防止过早交联和发泡致使以后发泡不足或降低制品的质量。经过充分混炼的料片裁切后即加入模具并放入压机。在加热和加压下,交联剂分解使树脂交联,随之再进一步提高温度使发泡剂分解而发泡。发泡剂分解完毕后,卸压使热的熔融物膨胀弹出而完成发泡。
三、实验仪器和材料
1.原材料(配方)
低密度聚乙类烯(LDPE):密度0.920~0.924g/cm3,熔体流动速率<10g /min
过氧化二异丙苯(DCP):工业一级品
偶氮二甲酰胺(ADCA):工业一级品
氧化锌(ZnO):化工一级品
硬脂酸锌(ZnSt):化工一级品
2.仪器设备
天平:感量0.1g 1台
天平:感量1g 1台
密炼机 1台
双辊炼塑机(SK-160B) 1台
平板硫化机(XLB-D350mm×350mm×2) 1台
发泡模具(160×160×3mm) 1套
整形模具(长×宽:350×300mm) 1套
泡沫材料测厚仪或游标尺(精度0.02mm) 1件
四、实验步骤
1.测定LDPE树脂的密度和熔融流动速率;
2.按表原料配方,计算出LDPE质量为45g时加入助剂的质量。
原材料实验配方(质量份)
LDPE |
DCP |
ADCA |
ZnO |
ZnSt |
100 |
0.2~1.0 |
4 |
0.8 |
1.2 |
45 |
|
|
|
|
用天平(感量lg)称量LDPE于容器中,按发泡促进剂、交联剂、发泡剂顺序分别用天平(感量0.1g)称量助剂并放入容器中;
3.按密炼机的操作规程,开启密炼机;设定密炼机混料参数,温度为120℃,转子速度为60rpm,时间10min;
4.当密炼机的温度到达120℃,并在此温度下恒定3min,校正扭矩,开始实验;打开上顶栓加料,放下上顶栓;
5.在实验进行过程中,观察密炼室中时间——转矩和时间——熔体温度曲线,从物料的转矩——温度——时间曲线判断物料熔融,并已均匀后或经密炼10min后,打开密炼机卸料,立即辊炼放片;
6.启动双辊炼塑机、调节辊距为3~4mm,在100~120℃的温度下将密炼好的团块状物料辊炼1~2次,取下成为发泡使用的片坯;
7.片坯未冷却变硬时,裁切为略小于160×160mm的正方块;
8.按发泡模具型腔容积(同学在实验前)计算的质量数值,用天平(感量lg)称量片坯;
9.将已恒温160~180℃的发泡模具清理干净,置于平板硫化机下工作台中心部位,放入已称量的片坯;
10.合模加压至平板硫化机液压表压强为10MPa(同学实验前换算kgf/cm2),开始计算模压发泡成型时间;
11.在模具温度160~180℃下,模压发泡成型10~12min。解除压力,迅速开模取出泡沫板材,置于整形模具的二块模板间定型2~6min;
12.用三角尺(自备)在泡沫板材面画出100×100mm的正方形,剪切成块,用泡沫材料测厚仪或游标尺测量各边的厚度;用天平(感量0.1g)称量泡沫块的质量;
13.在泡沫板材表面及切断面用肉眼或放大镜观查气泡结构及外观质量缺陷(如熔接痕、翘曲、僵块、凹陷等)状况;
14.用切样机切取试样,测试拉伸强度及断裂伸长率。
五、实验记录和数据处理
1.按平板硫化机技术参数,计算模压成型的模压压强(MPa)。
2.计算泡沫材料的发泡倍数及平均值。
3.解释实验过程中测得的物料转矩——温度——时间曲线。
六、思考题
1.从原料密度、泡沫塑料密度、发泡剂的发气量推导计算发泡剂理论用量(%)的公式。用此式校验本实验配方中发泡剂用量,说明与理论用量差别的原因。
2.同一塑料的模压成型与模压发泡成型有何特点?
实验八 天然橡胶硫化模压成型
一、实验目的
1.掌握橡胶制品配方设计的基本知识和橡胶模塑硫化工艺;
2.熟悉橡胶加工设备(如开炼机、平板硫化机等)及其基本结构,掌握这些设备的操作方法。
二、实验原理
生胶是橡胶弹性体,属线型高分子化合物。高弹性是它的最宝贵的性能,但是过分的强韧高弹性会给成型加工带来很大的困难,而且即使成型的制品也没有实用的价值,因此,它必须通过一定的加工程序,才能成为有使用价值的材料。
塑炼和混炼是橡胶加工的两个重要的工艺过程,通称炼胶,其目的是要取得具有柔软可塑性,并赋予一定使用性能的、可用于成型的胶料。
生胶的分子量通常都是很高的,从几十万到百万以上。过高的分子量带来的强韧高弹性给加工带来很大的困难,必须使之成为柔软可塑性状态才能与其他配合剂均匀混合,这就需要进行塑炼。塑炼可以通过机械的、物理的或化学的方法来完成。机械法是依靠机械剪切力的作用借以空气中的氧化作用使生胶大分子降解到某种程度,从而使生胶弹性下降而可塑性得到提高,目前此法最为常用。物理法是在生胶中充入相容性好的软化剂,以削弱生胶大分子的分子间力而提高其可塑性,目前以充油丁苯橡胶用得比较多。化学塑炼则是加入某些塑解剂,促进生胶大分子的降解,通常是在机械塑炼的同时进行的。
本实验是天然橡胶的加工,选用开炼机进行机械法塑炼。天然生胶置于开炼机的两个相向转动的辊筒间隙中,在常温(小于50℃)下反复被机械作用,受力降解;与此同时降解后的大分子自由基在空气中的氧化作用下,发生了一系列力学与化学反应,最终可以控制达到一定的可塑度,生胶从原先强韧高弹性变为柔软可塑性,满足混炼的要求。塑炼的程度和塑炼的效率主要与辊筒的间隙和温度有关,若间隙愈小、温度愈低,力化学作用愈大,塑炼效率愈高。此外,塑炼的时间,塑炼工艺操作方法及是否加入塑解剂也影响塑炼的效果。
生胶塑炼的程度是以塑炼胶的可塑度来衡量的,塑炼过程中可取样测量,不同的制品要求具有不同的可塑度,应该严格控制,过度塑炼是有害的。
混炼是在塑炼胶的基础上进行的又一个炼胶工序。本实验也是在开炼机上进行的。为了取得具有一定的可塑度且性能均匀的混炼胶,除了控制辊距的大小,适宜的辊温(小于90℃)之外,必须注意按一定的加料混合程序进行。即量小难分散的配合剂首先加到塑炼胶中,让它有较长的时间分散;量大的配合剂则后加。硫磺用量虽少,但应最后加入,因为硫磺一旦加入,便可能发生硫化效应,过长的混合时间将使胶料的工艺性能变坏,于其后的半成品成型及硫化工序都不利。不同的制品及不同的成型工艺要求混炼胶的可塑度、硬度等都是不同的。
当列配方中的硫磺含量在5份之内,交联度不很大,所得制品柔软;选用两种促进剂对天然胶的硫化都有促进作用,不同的促进剂协同使用,是因为它们的活性强弱及活性温度有所不同,在硫化时将促进交联作用更加协调、充分显示促进效果;助促进剂即活性剂在炼胶和硫化时起活化作用;防老剂多为抗氧剂,用来防止橡胶大分子因加工及其后的应用过程的氧化降解作用,以达到稳定的目的;石蜡与大多数橡胶的相容性不良,能集结于制品表面起到滤光阻氧等防老化效果,并且对于加工成型有润滑性能;碳酸钙作为填充剂有增容及降低成本作用,其用量多少将影响制品的硬度。
天然软质硫化胶片,其成型方法采用模压法,通常又称为模型硫化。它是一定量的混炼胶置于模具的型腔内通过平板硫化机在一定的温度和压力下成型同时经历一定的时间发生适当的交联反应,最终取得制品的过程。天然橡胶是异戊二烯的聚合物,硫化反应主要发生在大分子间的双键上。其机理如下:在适当的温度,特别是达到了促进剂的活性温度下,由于活性剂的活化及促进剂的分解成游离基,促使硫磺成为活性硫,同时聚异戊二烯主链上的双键打开形成橡胶大分子自由基,活性硫原子作为交联键桥使橡胶大分予间交联起来而成立体网状结构。双键处的交联程度与交联剂硫磺的用量有关。硫化胶作为立体网状结构并非橡胶大分子所有的双键处都发生了交联,交联度与硫磺的量基本上是成正比关系的。所得的硫化胶制品实际上是松散的、不完全的交联结构。成型时施加一定的压力既有利于活性点的接近和碰撞,促进交联反应的进行,也利于胶料的流动。硫化过程须保持一定的时间,以保证交联反应达到配方设计所要求的程度。硫化过后,不必冷却即可脱模,模具内的胶料已交联定型为橡胶制品。
三、实验仪器和材料
1.原材料
天然橡胶(NR) |
100.0(Wt) |
硫磺 |
2.5 |
促进剂CZ |
1.5 |
促进剂DM |
0.5 |
硬脂酸 |
2.O |
氧化锌 |
5.0 |
轻质碳酸钙 |
40.0 |
石蜡 |
1.0 |
防老剂4010-NA |
l.0 |
着色剂 |
0.1 |
2.仪器设备
双辊筒炼胶机(SK-160B型) |
1台 |
平板硫化机(XLB-D350mm×350mm×2) |
1台 |
模板 |
l付 |
浅搪瓷盘 |
1个 |
温度计(0~300℃) |
2支 |
天平(感量0.01g) |
1台 |
备齐铜铲、手套、剪刀等实验用具
四、实验步骤
1.配料
按上列的配方准备原材料,准确称量并复核备用。
2.生胶塑炼
①按照机器的操作规程开动双辊开炼机,观察机器是否运转正常;
②破胶 调节辊距2mm,在靠近大齿轮的一端操作以防损坏设备。生胶碎块依次连续投入两辊之问,不宜中断,以防胶块弹出伤人。
③薄通 胶块破碎后,将辊距调至1mm,辊温控制在45℃左右。将破胶后的胶片在大齿轮的一端加入,使之通过辊筒的间隙,使胶片直接落到接料盘内。当辊筒上已无堆积胶时,将胶片折叠重新投入到辊筒的间隙中,继续薄通到规定的薄通次数为止。
④捣胶 将辊距调至1mm,使胶片包辊后,手握割刀从左向右割至近右边边缘(不要割断),再向下割,使胶料落在接料盘上,直到辊筒上的堆积胶将消失时才停止割刀。割落的胶随着辊筒上的余胶带入辊筒的右方,然后再从右向左方向同样割胶。这样的操作反复操作多次。
⑤辊筒的冷却 由于辊筒受到摩擦生热,辊温要升高,应经常以手触摸辊筒,若感到烫手,则适当通入冷却水,使辊温下降,并保持不超过50℃。
⑥经塑炼的生胶称塑炼胶,塑炼过程要取样作可塑度试验,达到所需塑炼程度时为止。
3.胶料混炼
①调节辊简温度在50~60℃之间,后辊较前辊略低些。
②包辊 塑炼胶置于辊缝间,调整辊距使塑炼胶既包辊又能在辊缝上部有适当的堆积胶。经2~3min的辊压、翻炼后,使之均匀连续地包裹在前辊筒上,形成光滑无隙的包辊胶层。取下胶层,放宽辊距至1.5mm,再把胶层投入辊缝使其包于后辊,然后准备加入配合剂。
③吃粉 不同配合剂按如下顺序分别加入
a.首先加入固体软化剂,这是为了进一步增加胶料的塑性以便混炼操作;同时因为分散困难,先加入是为了有较长时间混合,有利于分散。
b.加入促进剂、防老剂和硬酯酸。促进剂和防老剂用量少,分散均匀度要求高,也应较早加入便于分散。此外,有些促进剂如DM类对胶料有增塑效果,早些加入利于混炼。防老剂早些加入可以防止混炼时可能出现温升而导致的老化现象。硬脂酸是表面活性剂,它可以改善亲水性的配合剂和高分子之间的湿润性,当硬脂酸加入后,就能在胶料中得到良好的分散。
c.加入氧化锌。氧化锌是亲水性的,在硬脂酸之后加入有利于其在橡胶中的分散。
d.加入补强剂和填充剂。这两种助剂配比较大,要求分散好本应早些加入,但由于混炼时间过长会造成粉料结聚,应采用分批、少量投入法,而且需要较长的时间才能逐步混入到胶料中。
e.液体软化剂具有润滑性,又能使填充剂和补强剂等粉料结团,不宜过早加入,通常要在填充剂和补强剂混入之后再加入。
f.硫磺是最后加入的,这是为了防止混炼过程出现焦烧现象,通常在混炼后期加入。
吃粉过程每加入一种配合剂后都要捣胶两次。在加入填充剂和补强剂时要让粉料自然地进入胶料中,使之与橡胶均匀接触混合,而不必急于捣胶;同时还需逐步调宽辊距,堆积胶保持在适当的范围内。待粉料全部吃进后,由中央处割刀分往两端,进行捣胶操作促使混炼均匀。
4.翻炼 全部配合剂加入后,将辊距调至0.5~1.0mm,通常用打三角包、打卷或折叠及走刀法等进行翻炼至符合可塑度要求时为止。翻炼过程应取样测定可塑度。
①打三角包法 将包辊胶割开用右手捏住割下的左上角,将胶片翻至右下角;用左手将右上角胶片翻至左下角,以此动作反复至胶料全部通过辊筒。
②打卷法 将包辊胶割开,顺势向下翻卷成圆筒状至胶料全部卷起,然后将卷筒胶垂直插入辊筒间隙,这样反复至规定的次数,即混炼均匀为止。
③走刀法 用割刀在包辊胶上交叉割刀,连续走刀,但不割断胶片,使胶料改变受剪切力的方向,更新堆积胶。翻炼操作通常是3~4min,待胶料的颜色均匀一致,表面光滑即可终止。
5.混炼胶的称量 按配方的加入量,混后胶料的最大损耗为总量的0.6%以下,若超过这一数值,胶料应予报废,须重新配炼。
6.混炼时应注意的事项
①在开炼机上操作必须按操作规程进行,要求高度集中注意力;
②割刀时必须在辊筒的水平中心线以下部位操作;
③禁止带手套操作。辊筒运转时,手不能接近辊缝处;双手尽量避免越过辊筒水平中心线上部,送料时手应作握拳状;
④遇到危险时应立即触动安全刹车;
⑤留长辫子的学生要求戴帽或结扎成短发后操作。
7.胶料模型硫化
模型硫化是在平板硫化机上进行的。所用模具是型腔尺寸为160mmx120mm×2mm的橡胶标准试片用平板模。
①混炼胶试样的准备
将混炼胶裁剪成一定的尺寸备用。胶片裁剪的平面尺寸应略小于模腔面积,而胶片的体积要求略大于模腔的容积。
②模具预热
模具经清洗干净后,可在模具内腔表面涂上少量脱模剂,然后置于硫化机的平板上,在硫化温度145℃下预热约30min。
③加料模压硫化
将准备好的胶料放入已预热好的模腔内,并立即合模置于压机平板的中心位置,然后开动压机加压,胶料硫化压力为2.OMPa。当压力表指针指示到达所需的工作压力时,开始记录硫化时间。本实验要求保压硫化时间为10min,在硫化到达预定时间稍前时,去掉平板间的压力,立即趁热脱模。
④试片制品的停放
脱模后的试片制品放在平整的台面上在室温下冷却并停放6~12h,才能进行性能测试。
五、思考题
1.天然生胶、塑炼胶、混炼胶和硫化胶,它们的机械性能和结构实质有何不同?
2.影响天然胶塑炼和混炼的主要因素有哪些?
3.胶料配方中的促进剂为何通常不只用一种?
实验九 配方综合设计
一、实验目的
1.考察学生根据实验任务和内容自行设计产品配方或加工工艺参数的能力;
2.考察学生对实验设备的熟悉和掌握程度;
3.考察学生对理论知识的综合运用能力;
4.锻炼学生独立思考、敢于探新的能力。
二、实验任务及内容
聚合物材料的配制和造粒;制备标准试样、测聚合物材料的力学性能。
三、实验项目
题目1 聚氯乙烯助剂对板材性能的影响
聚氯乙烯板材属于硬制品范畴,在硬制品中,聚氯乙烯的配方中有很多助剂,如稳定剂、加工改性剂、润滑剂、冲击改性剂和填料等,助剂的品种、数量对制品的各种性能影响很大。配方中的助剂的品种、数量变化如何引起制品的性能变化,随着助剂的数量增加而性能上升还是下降的规律性,是本综合实验的训练目的。
在本实验中,改变助剂的份数变化规律一般如下所示,以树脂100份为准;
稳定剂数量分别为 2.0、3.0、4.0、5.0、6.0
润滑剂数量分别为 0.2、0.6、1.0、1.4、1.6
加工改性剂数量分别为 1.0、2.0、3.0、4.0、5.0
填料添加数量分别为 5.0、7.0、12、15、20
冲击改性剂数量分别为 5.0、7.0、9.0、11、13、15
也可以改变其他助剂的数量,在进行实验过程中,可以采用优选法对实验进行筛选,确定实验配方,对实验的物料进行性能测试,测试项目为制品的拉伸强度、弯曲强度、冲击强度、硬度、维卡耐热温度等。
实验的工艺路线为配方设计一物科混合一塑炼一压制成板材一裁制样条一性能测试。
由于实验项目较多,在实验过程中要发挥团队精神,每个小组完成一种助剂的变化,观察该种助剂的变化规律。不同小组进行不同助剂的变化,整个班级就形成不同助剂在不同数量的情况,对制品性能影响的规律就可以掌握了。
题目2 酚醛模塑粉的成型加工参数确定
酚醛树脂模塑粉是常用的热固型塑料,一般不采用热塑性塑料的成型方法成型制品,而经常采用压制成型的成型方法,在压制成型工艺中,工艺参数主要是压制压力、压制温度、压制时间,改变成型工艺参数,观察模塑料成型状态,测定制品的拉伸强度、弯曲强度和电性能。模塑制品为标准样条,使用的模具为标准拉伸样条模具、标准弯曲样条模具和圆片模具。
改变的工艺参数范围:压制压力10~40 MPa;压制温度150~180℃;压制时间5~15min。
试验的工艺路线:模具预热——模塑粉称量——压制成型——性能测试。
四、实验报告
实验报告应包括下列内容:
(1)实验目的与内容;
(2)实验的任务及内容;
(3)实验的设计原理、设计方法和设计步骤以及初定的参数;
(4)实验结果的表述和实验数据的记录
(5)总结自己经过本次综合和设计型实验的收获和感受,并对整个过程中的不足(包括自己的和实验本身的)提出改进措施。